产品
  • 网页
  • 产品
  • 图片
  • 报价
  • 下载

您现在的位置:雷竞技须安全稳定>深度

iOS 26 beta 3上线:增加壁纸颜色选项,细节体验升级,但无新功能

iOS 26 beta 3上线:增加壁纸颜色选项,细节体验升级,但无新功能

距离6月23日发布的第二轮测试版仅仅过去了两周,苹果近日又再次向开发者推送了iOS 26、iPadOS 26、macOS 26、watchOS 26以及visionOS 26的beta 3版本,而首个…

毛毛
全能轻薄大折叠旗舰OPPO Find N5:轻巧但能干

全能轻薄大折叠旗舰OPPO Find N5:轻巧但能干

在折叠屏手机的发展道路上,如何在保持旗舰性能和全能体验的前提下实现真正的“轻薄”,一直是行业面临的技术挑战。OPPO Find N5的出现,无疑为这一问题交出了一份近乎完美的答卷——它不仅在重量与手感…

荣耀手表5 Ultra:经典机械美学与AI健康管理的旗舰之作

荣耀手表5 Ultra:经典机械美学与AI健康管理的旗舰之作

近日,荣耀推出“AI健康专家”荣耀手表5 Ultra以高端材质顶尖工艺、全面健康管理功能、丰富的运动模式以及强大的AI能力,吸引了不少用户的注意。

毛毛
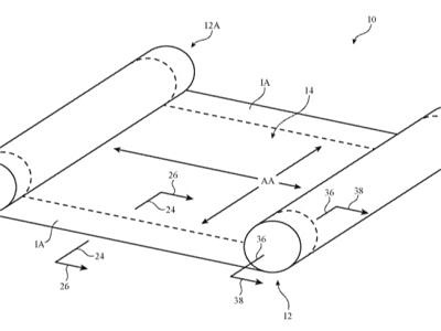
苹果卷轴屏专利再曝光,卷轴屏iPhone有望成真?

苹果卷轴屏专利再曝光,卷轴屏iPhone有望成真?

近日苹果公开了一项名为“具有柔性显示结构的电子设备”的专利申请,再次将“卷轴屏 iPhone”这一猜想拉回大众视野,引发广大用户关注与热议。

毛毛
OPPO Find N5:轻薄全能折叠屏的软硬结合之作

OPPO Find N5:轻薄全能折叠屏的软硬结合之作

 随着折叠屏迈入第三阶段,市场已不再满足于“能折就行”,而是对便携性、性能、软件生态的全面综合体验提出更高期待。OPPO Find N5作为年度旗舰折叠屏,不仅在设计上实现材料突破,更通过软硬协同的全…

适配苹果生态+高效轻办公,vivo X Fold5实现多平台销量领跑

适配苹果生态+高效轻办公,vivo X Fold5实现多平台销量领跑

7月2日,vivo X Fold5正式开售,并且凭借卓越的性能、创新的设计和出色的用户体验,迅速斩获多平台销量冠军,包括京东、天猫、抖音、京东第三方店铺、拼多多、招行、快手等平台,一举夺得折叠屏品类销…

毛毛
vivo X Fold5亮点总结:做苹果最好搭子?

vivo X Fold5亮点总结:做苹果最好搭子?

 vivo X Fold5作为vivo推出的全新一代折叠旗舰,这款产品在首发宣传中高调打出“苹果用户最佳搭子”的口号,主打跨生态协同体验。它究竟能不能担起“苹果最佳搭子”的称号?亮点梳理,马上开始。它…

当索尼克的速度遇上三星存储 这张联名存储卡让游戏与创作快到飞起

当索尼克的速度遇上三星存储 这张联名存储卡让游戏与创作快到飞起

还记得童年那个有着蓝色尖刺、跑得比闪电还快的刺猬索尼克吗?它不仅是动漫史上的速度担当,如今更化身存储领域的新锐——三星microSD PRO Plus索尼克联名存储卡带着索尼克家族的速度基因来了。从1…

夏初
多设备高效联动,OPPO Find N5跨端功能解锁办公新姿势

多设备高效联动,OPPO Find N5跨端功能解锁办公新姿势

要说今年出彩的折叠屏,OPPO Find N5绝对有一席之地。OPPO?Find?N5搭载全新钛合金天穹铰链,机身薄至?8.93mm,轻薄机身下还搭载了5600mA…

毛毛
OPPO Find N5大折叠旗舰为什么值得入手?软硬配置不掉队

OPPO Find N5大折叠旗舰为什么值得入手?软硬配置不掉队

随着折叠屏技术日益成熟,越来越多用户开始关注“大屏+便携”带来的生产力与娱乐体验双重提升。作为OPPO推出的第五代大折叠旗舰,Find N5不仅在硬件配置上持续拔高,还在软件体验上带来了全面进化,真正…

荣耀Magic V5正式发布,“V587”体验开启折叠屏新纪元

荣耀Magic V5正式发布,“V587”体验开启折叠屏新纪元

7月2日晚,备受期待的轻薄折叠旗舰新品荣耀Magic V5正式发布,凭借突破性的制造工艺、全方位的技术创新、满血的旗舰性能以及 AI 智能体的多元应用与广泛生态覆盖,重新划定折叠旗舰的标准,达成8大 …

毛毛
毕业季怎么拍出“彩”“动”人的照片?OPPO Reno14 Pro轻松出氛围感大片

毕业季怎么拍出“彩”“动”人的照片?OPPO Reno14 Pro轻松出氛围感大片

毕业季来临,校园里弥漫着青春的气息与离别的不舍,在这个特别的时刻里,用镜头定格美好回忆至关重要。OPPO Reno14 Pro 凭借卓越影像实力与独特设计,成为毕业季拍照神器,让每一张毕业照都出“彩”…

毛毛
RTX50 Super三款齐曝光:显存大幅增加,只有一款加核心

RTX50 Super三款齐曝光:显存大幅增加,只有一款加核心

随着前几天RTX 5050正式发布,RTX 50系列第一阶段的产品已经悉数登场,涵盖了从入门到旗舰的诸多型号,价格也从2K+到近2W,满足不同消费者的需求。而这几天,RTX 50系列的新卡也已经泄露的…

景博健
差旅生活随心掌控 JBL TOUR ONE M3音乐头等舱无线降噪耳机

差旅生活随心掌控 JBL TOUR ONE M3音乐头等舱无线降噪耳机

JBL?TOUR?ONE?M3耳机正如其“音乐头等舱”的别称,是专为有精致出行和商务差旅需求的人士打造出的高端头戴式无线降噪耳机。不仅拥有充沛质感与个性化配色的外观…

Lord_ViTa
定价超2K,坚守GDDR 6显存 RTX 5050值得入手吗?

定价超2K,坚守GDDR 6显存 RTX 5050值得入手吗?

前段时间,RTX 50系列迎来了一个全新的成员—RTX 5050,也是该系列中最入门且最便宜的型号,定价为2099元起,今天笔者就和大家简单聊聊这款入门级别的显卡是否值得选择。

景博健
暑期出游好搭子!OPPO Reno14系列让夏日更出彩

暑期出游好搭子!OPPO Reno14系列让夏日更出彩

暑假已至,夏日的阳光、海滩、蝉鸣交织成独有的热烈氛围,无论是与朋友结伴出游,还是享受惬意的假期生活,都需要一款出色的手机来记录美好瞬间、满足娱乐需求。OPPO Reno14 系列凭借卓越的影像实力、时…

毛毛
全球最轻大折叠vivo X Fold5评测:iPhone生态就是V的生态

全球最轻大折叠vivo X Fold5评测:iPhone生态就是V的生态

随着折叠屏市场的日益成熟,各大厂商不断探索“轻薄”和“实用”的最佳平衡点。去年vivo带来的大折叠机型——vivo X Fold3,凭借仅219g的整机重量,将这一轻薄记录保持至今。vivo X Fo…

全球最轻大折叠vivo X Fold5正式发布:6000mAh蓝海电池|原子工作台

全球最轻大折叠vivo X Fold5正式发布:6000mAh蓝海电池|原子工作台

今日,vivo正式发布年度折叠旗舰——vivo X Fold5。凭借“全球最轻大折叠手机”的惊艳设计、突破性的6000mAh大电池容量、创新的原子工作台多任务交互,以及行业首屈一指的Apple硬件生态…

七彩虹主板高端线再临 CVN X870 ARK方舟成为Zen 5优质搭档

七彩虹主板高端线再临 CVN X870 ARK方舟成为Zen 5优质搭档

如果想要打造一套性能优异的电竞平台,主板作为承载处理器、显卡、内存、固态硬盘等硬件的平台同样至关重要。七彩虹时隔多年再次带来一款采用AMD高端X870芯片组的主板:CVN?X870Q…

Lord_ViTa
ColorOS 六月体验升级,实用AI 功能协助高考生出游

ColorOS 六月体验升级,实用AI 功能协助高考生出游

近日,OPPO正式公布2025年6月ColorOS系统的体验升级内容,本次升级不仅覆盖超过100款机型,更带来了20+项重磅新功能,OPPO AI 助你一键直达查考分、规划专属毕业旅行;流体云实用再加…

至尊极景 独一无二 TCL Q10L系列展现第四代液晶电视风采

至尊极景 独一无二 TCL Q10L系列展现第四代液晶电视风采

在今天,电视用户想要获得更好的视觉体验,从片源品质到电视的综合显示素质,乃至提升观影沉浸感的精妙外观设计,多种因素缺一不可。 而TCL?Q10L系列凭借新一代万象分区技术、极景·无黑边设…

Lord_ViTa
抓住618的尾巴:2025年6月游戏PC装机配置推荐

抓住618的尾巴:2025年6月游戏PC装机配置推荐

在2024-2025的PC硬件换代潮流中,虽然有不少玩家觉得硬件性能总体上“挤了牙膏”,但利好玩家的变化同样正在发生,例如显示器等设备的整体降价,键鼠耳机等外设参与到国补中等等。在2025年6月年中促…

Lord_ViTa
从OTT大厂到AI原生企业:酷开“智能体矩阵”如何构建生态版图

从OTT大厂到AI原生企业:酷开“智能体矩阵”如何构建生态版图

在刚刚揭晓的雷竞技须安全稳定 “2025卓越AI智能体产品”评选中,酷开科技凭借“酷开AI学习机Y41 Air”与“酷开AI闺蜜机C20系列”智能体硬件,是在智能服务场景中的技术落地能力获得认可。这一奖项除了硬件…

Lord_ViTa
三星全新折叠屏有望7月9日登场 Galaxy Z Fold7将更轻、更薄、更大

三星全新折叠屏有望7月9日登场 Galaxy Z Fold7将更轻、更薄、更大

 最近,三星GALAXY盖乐世官方账号发布了一系列视频为折叠屏新作进行预热,有望在近期正式登场。三星在配文中提到“薄到超乎你的想象”,视频中则提到“它折起来就是一部普通手机”以及“这看起来更像是专业拍…

景博健
618末班车!7000mAh大电池OPPO K12s手机国补841元起!

618末班车!7000mAh大电池OPPO K12s手机国补841元起!

 随着618年中大促进入最后冲刺阶段,不少品牌纷纷放出“压轴优惠”,还在观望的朋友可要抓紧这趟“末班车”了!仅剩最后一天,OPPO原本千元级别7000mAh大电池OPPO K12s可叠加官方9折券,叠…

高通万卫星:AI即新的UI 高通赋能终端侧智能体AI变革

高通万卫星:AI即新的UI 高通赋能终端侧智能体AI变革

GSMA 2025 MWC上海展会正在紧锣密鼓地进行中。在6月19日下午举行的AI终端峰会上,高通公司AI产品技术中国区负责人万卫星进行了技术分享。他介绍了高通针对支持智能体AI在终端侧部署方面的规划…

夏初
618末班车!OPPO Find X8s特惠降价四百元 学生购机享优惠

618末班车!OPPO Find X8s特惠降价四百元 学生购机享优惠

随着618年中大促进入尾声,虽然前期的抢购热潮已告一段落,但优惠仍在持续进行。错过高峰期也无需遗憾,OPPO的618好价仍在延续中。   今年四月发布的OPPO Find X8s,作为一款兼具轻…

618收官在即,这些好物闭眼入不踩雷

618收官在即,这些好物闭眼入不踩雷

618这场年度购物狂欢已临近尾声,在这场购物盛宴中,OPPO携多款明星产品强势登场,为大家带来不容错过的惊喜。尤其是学生群体,专属福利诚意满满,绝对是入手 OPPO 手机的绝佳时机。

毛毛
618最后冲刺! 推荐几款2-5K值得入手的轻薄本

618最后冲刺! 推荐几款2-5K值得入手的轻薄本

转眼间,持续将近一个月的618大促已经临近了尾声,各大品牌和平台应该会趁着最后这段时间再冲上一波,给大家来点优惠促销。所以笔者今天就来推荐几款适合下手的轻薄本产品,涵盖2-5K价位段,小伙伴可以根据自…

景博健
世俱杯邂逅618!海信100吋“世界第一”屏焕新观赛体验

世俱杯邂逅618!海信100吋“世界第一”屏焕新观赛体验

最近也正是618年中购物狂欢节收官之际,海信100吋电视势必要带来一场关于视觉与听觉的极致盛宴。现在入手还可享受一级能效补贴20%(最高省2000元),让你以抄底价格将百吋巨幕带回家,客厅秒变球场最佳…

夏初
618投影仪选购清单|这3款投影仪让你家秒变IMAX影院!

618投影仪选购清单|这3款投影仪让你家秒变IMAX影院!

一年一度的618大促终于来啦,再叠加国补,各类家电产品的折扣力度真的太香了,正是入手的好时机,那么本期的618家电选购清单,将会给大家推荐这个能提升幸福指数的宝藏好物——投影仪。在家庭娱乐中,它可投射…

陈zizi
装机外拍全覆盖!三星618必入存储清单

装机外拍全覆盖!三星618必入存储清单

当下正值618购物狂欢大促期,存储设备迎来焕新热潮!无论是对装机党、创作者还是商务人士来说,现在都是入手高性能存储产品的大好时机!今天为大家带来三星三大核心存储好物——PCIe 5.0旗舰固态硬盘91…

夏初
家庭娱乐好选择:2025年618新一代主流75英寸电视选购指南&推荐

家庭娱乐好选择:2025年618新一代主流75英寸电视选购指南&推荐

在2025年,各大电视品牌普遍在显示与画质领域持续创新,并借力AI技术,进一步赋能智能电视系统UI的人机交互与内容推荐体验,打造老少皆宜、操作更简便的电视产品。 618来临之际,我们首先带来75英寸…

Lord_ViTa
OPPO超薄折叠屏Find N5享受购机优惠500起,精致便携与旗舰体验兼得!

OPPO超薄折叠屏Find N5享受购机优惠500起,精致便携与旗舰体验兼得!

随着618年中大促全面开启,换新机成为不少消费者的热门选择。尤其对于追求高端质感与前沿科技的用户来说,折叠屏无疑是近年来最具吸引力的产品形态之一。今天小编就为大家带来一款兼具轻薄设计与强劲性能的热门折…

vivo X Fold5新品发布会定档6月25日,现已开启预约

vivo X Fold5新品发布会定档6月25日,现已开启预约

6月12日,vivo官方正式宣布,vivo X Fold5新品发布会将于6月25日19:00举行,海报文案“更轻了 更强了”将大家对这款折叠屏的期待值拉满。与此同时,新机的预约通道也已全面开启。

毛毛
高考生必看!购机享受专属福利 OPPO为毕业生献上“上岸金喜”

高考生必看!购机享受专属福利 OPPO为毕业生献上“上岸金喜”

 高考落幕,青春无悔,一段奋斗的旅程画上圆满句号,新的生活即将开启。在这充满希望与憧憬的时刻,OPPO特别推出毕业生专属福利活动,以“上岸金喜”献礼每一位顺利“上岸”的高考学子!时逢618,今天小编为…

华为FreeBuds 6玫瑰金正式登场:时尚优雅新选择,智慧功能再升级

华为FreeBuds 6玫瑰金正式登场:时尚优雅新选择,智慧功能再升级

在6月11日的华为Pura 80系列及全场景新品发布会上,华为FreeBuds 6悦彰耳机全新“玫瑰金”配色的神秘面纱被正式揭开,同时正式开售。作为华为首款搭载“悦彰”音频品牌的半开放耳机,华为Fre…

景博健
618大促遇上国补,OPPO这几款机型性价比直接拉满

618大促遇上国补,OPPO这几款机型性价比直接拉满

不少人都计划趁着这个机会选购新手机。众多品牌中,OPPO 凭借丰富的产品线和出色的产品性能,吸引了众多消费者的目光。今年618更是叠加国补优惠,OPPO手机的性价比优势进一步凸显。

毛毛
一年一度618限时疯抢!三星存储必买好物推荐

一年一度618限时疯抢!三星存储必买好物推荐

当下正值618限时疯抢大促期!存储品类的热度也节节攀升,相信有不少朋友计划在这个购物狂欢季更新存储设备。那么借着这个疯抢的机会,我们来为大家推荐两款来自三星的优秀产品——PCIe 5.0旗舰固态硬盘9…

夏初
WWDC25落幕 系统还能不能让苹果“优势在我”?

WWDC25落幕 系统还能不能让苹果“优势在我”?

通常来说,苹果的WWDC主要是进行系统层面的更新,偶尔会更新一部分硬件。而对于众多果粉来说,苹果的各类操作系统一直是能吸引他们融入苹果生态的重要原因,那么本次齐齐踏入“26”时代的众系统们还能“Mak…

夏初
WWDC25:一场像“温吞水”的科技春晚,连Siri都玩起了“躲猫猫”?

WWDC25:一场像“温吞水”的科技春晚,连Siri都玩起了“躲猫猫”?

6月10日凌晨,苹果公司一年一度的全球开发者大会(WWDC)在其总部盛大召开。此次大会,苹果没有发布任何新硬件产品,软件更新虽多,却未能给外界带来足够的惊喜与新鲜感,此前爆料的新Mac Pro、第二代…

毛毛
iPadOS 26 生产力迎来史诗级跃升:融入液态玻璃设计|MacOS级多任务处理

iPadOS 26 生产力迎来史诗级跃升:融入液态玻璃设计|MacOS级多任务处理

在今日凌晨举行的WWDC25开发者大会上,苹果正式发布了包括iOS 26、iPadOS 26、macOS 15在内的一系列系统更新,并带来了近年来最大规模的设计语言升级 —— “Liquid Glas…

一文带你回顾WWDC 25:液态玻璃设计来袭,系统更新亮点不少

一文带你回顾WWDC 25:液态玻璃设计来袭,系统更新亮点不少

北京时间6月10日凌晨,WWDC 25正式拉开了帷幕,这次苹果统一了各个系统的版本号,融入了全新的Liquid Glass(液态玻璃)设计语言,包括iOS、MacOS以及iPadOS在内的全平台系统都…

景博健
当大模型参加高考数学,谁是最会答题那一个?

当大模型参加高考数学,谁是最会答题那一个?

6月7日下午,随着2025年全国高考数学科目考试落幕,数学相关话题迅速成为网络热议焦点。

yu
竞争白热 爆品频出:618扫地机器人选购指南&推荐

竞争白热 爆品频出:618扫地机器人选购指南&推荐

扫地机器人向来成为帮助年轻Z世代等多种群体解放双手,以科技赋能家庭清洁的解决方案。 恰逢年中618购物狂欢季,2025上半年各品牌发布的扫地机器人新品都进入了大促冲刺阶段,可搭配多种优惠、权益与赠品…

Lord_ViTa
声光艺术打造优雅音乐空间 哈曼卡顿音乐水晶五代音箱开启618首购福利

声光艺术打造优雅音乐空间 哈曼卡顿音乐水晶五代音箱开启618首购福利

桌面蓝牙音箱、回音壁等个人音频领域近年来竞争愈发激烈,但总有一些竞争者能够凭借过硬的产品素质,以及系列的深厚底蕴脱颖而出。 哈曼卡顿近期推出的重磅新品:音乐水晶五代音箱就是其中的佼佼者,它凭借经典且…

Lord_ViTa
Switch好搭档 三星microSD PRO Plus索尼克存储卡不止记录影像

Switch好搭档 三星microSD PRO Plus索尼克存储卡不止记录影像

此前,三星正式推出了PRO Plus索尼克存储卡,不仅为广大用户带来了视频、游戏存储的实用之选,更为索尼克爱好者们提供了不容错过的收藏品。

夏初
iPhone 17将搭载120Hz高刷但无自适应,多款机型遭iOS 26淘汰

iPhone 17将搭载120Hz高刷但无自适应,多款机型遭iOS 26淘汰

随着苹果WWDC25大会越来越近,网上关于iPhone17系列的消息也越发多了起来,引发了广大用户热议。

毛毛
科沃斯地宝mini:”扫地僧”穿上潮牌,家电界mini哲学如何征服Z世代

科沃斯地宝mini:”扫地僧”穿上潮牌,家电界mini哲学如何征服Z世代

2001年,宝马复活“MINI”品牌时,没人能预料这款轴距不足2.5米的小车会成为全球中产的时尚符号;2020年,苹果推出iPhone 12 mini,尽管销量不及预期,却让“mini=精致生活”的认…

BOBO
OPPO Reno14荣登京东手机618竞速榜,购机享国补和超多礼品!

OPPO Reno14荣登京东手机618竞速榜,购机享国补和超多礼品!

  一年一度的618大促正火热进行中,各大手机品牌纷纷推出重磅优惠,在本次618开门红中,OPPO Reno14系列凭借出色的产品力和极具诚意的促销力度,强势登顶京东手机618竞速榜,成为2K-3K价…

关于我们| About us| 天极服务| 天极动态| 加入我们| 网站地图| 网站律师| 友情合作| RSS订阅| 意见反馈
渝B2-20030003Copyright (C) 1999-2025 Yesky.com, All Rights Reserved 版权所有 雷竟技官网进入
Baidu
map